欢迎来到江苏泰科流体控制阀门有限公司网站!
6.6.1 各受压区水平管网末端最不利点应设置模拟末端试水装置,但满足下列条件时,模拟末端试水可不提供试验装置,但应配备模拟终端水试验装置。直径50mm的试验阀:
1 允许在各水流指示器控制的保护范围内进行试水,试水不会对建筑物、装饰品和物品造成损坏;
2 试水场地地面有完善的排水措施。
6.6.2 模拟结束试水装置由压力表、试水阀、电磁阀、智能检测组件、模拟喷头(空中水炮)组成和一个排水管。
6.6.3 试水装置智能检测元件的性能和技术要求应与各种灭火装置的智能检测元件相同,并应与灭火装置分开安装。模拟喷头。
6.6.4 电磁阀的性能和技术要求应与各种灭火装置的电磁阀相同。
6.6.5 模拟喷水器(高空水炮)为固定喷水器(高空水炮),模拟喷水器(高空水炮)的流量系数应为与枪相同)相同。
6.6.6 模拟终端试水装置的出水采用间接排水方式排入排水管道。
6.6.7 模拟终端试水装置应安装在厕所、楼梯间等便于操作和检测的地方。
6.6.8 模拟终端试水装置应满足表6.6.8 的技术要求。
表6.6.8 模拟终端试水装置技术要求

文章描述
6.6 模拟终端试水装置
6.6.1 为了检验系统的可靠性,需要在各系统最不利位置的水平管网末端设置模拟末端试水装置。模拟终端试水装置的测试内容包括水流指示器、配水管道是否畅通、喷水器(高空水炮)在正常工况下最不利点的水压是否足够. 与传统自动喷水系统的封闭式喷水器不同,大空间智能灭火装置可多次重复使用。因此,在一些允许洒水、地面排水措施完善的地方,可以直接安装终端试水装置。
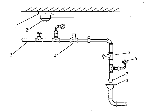
6.6.2 本文规定了模拟终端试水装置的组成。图19是模拟终端试水装置的组成示意图。

图19 模拟终端试水装置组成示意图
1—安装底座;2—智能检测组件;3—最不利点水管;4——电磁阀;5—截止阀;6—压力表;7—模拟喷嘴;8—排水漏斗
6.6.3 本文需要拆分安装主要考虑:
1 一体式自动扫描水射流灭火装置和自动扫描水射流高空水炮灭火装置结构复杂,价格高。无需为了测试而设置成套设备,降低建设成本;
2 如果检测组件与洒水器(高空水炮)一体安装,将难以设置出水口进行试水。如果接高电平会挡住检测元件,接低电平会溅水。
6.6.4 本条规定了电磁阀应满足的性能和技术要求。
6.6.5 所谓的模拟喷水器(高空水炮)就是一个固定的喷头(高空水炮),其流量系数与真正的喷水器(高空水炮)相同)、结构简单、无转动部件、价格低廉。哦)。
6.6.6 模拟结束时试水装置的出水口直接连接管道或软管时合资阀门品牌,试水接头出水口的水量状态为改变水用电磁阀安装示意图,测试结果将受到影响。因此,本条规定模拟终端试水装置的出水应采用间接排水方式排入排水管道。
6.6.7 模拟终端试水装置应安装在相对隐蔽的地方,有操作和检测的空间水用电磁阀安装示意图江苏阀门厂家,并有排水设施(管道)。
6.6.8 本条规定了模拟终端试水装置的技术要求。
末端试水装置