欢迎来到江苏泰科流体控制阀门有限公司网站!
第一类:闸阀,又称闸阀,是一种应用广泛的阀门。其关闭原理是闸板的密封面和阀座的密封面高度光滑、平整、一致,相互配合,可以防止介质流过,依靠上模、弹簧或浇口的模具形状,以增强密封效果。主要在管道中起到切割作用。
如图:

第二种,截止阀,也叫截止阀,是应用最广泛的阀门,由于启闭过程中密封面之间的摩擦力小吊桶式疏水阀,比较耐用,开启高度不大,制造容易,维护方便。不仅适用于中低压,也适用于高压。
如图:

第三类,
蝶阀也叫蝶阀,顾名思义,它的关键部分就像一只迎风自由旋转的蝴蝶。蝶阀的圆盘是一个圆盘,它在阀座内绕轴旋转。旋转角度的大小就是阀门的开闭度。
如图:

4.球阀
球阀的工作原理是通过旋转阀来使阀门畅通或堵塞。该球阀开关重量轻、体积小、可制成大口径、密封可靠、结构简单、维修方便。

球阀有两种,一种是浮球式,一种是固定球式。
5.旋塞阀
旋塞阀依靠旋塞体绕阀体中心线旋转,达到开启和关闭的目的。它的作用是截断、分割场和改变介质的流动方向。结构简单,体积小,运行时只需旋转90度,流体阻力不大。缺点是开关费力,密封面易磨损,高温容易卡死,不适合调节流量。
旋塞阀,又称旋塞、旋塞、旋心门。它的种类很多,包括直通式、三通式和四通式。

6.止回阀
止回阀是一种靠流体本身的力量自动开启和关闭的阀门。作用是防止介质倒流。它有很多名称,如止回阀、止回阀、止回阀等。按结构可分为两大类。
(1)升降式:阀瓣沿阀体垂直中心线移动。止回阀有两种:一种是卧式,安装在水平管道中,其形状为阀体 与截止阀类似,另一种为立式泰科阀门,安装在垂直管道中。
(2)旋启式:阀瓣围绕阀座外的销轴旋转,这种阀有单瓣、双瓣和多瓣,但原理是一样的。
水泵吸水管的吸水底阀是止回阀的变形。其结构与上述两种止回阀相同,只是下端敞开,让水进入。

7.安全阀
安全阀是一种将介质压力降低到一定值的自动阀。一般阀后压力小于阀前压力的50%。减压阀的种类很多,主要有活塞式和弹簧膜式。
活塞式减压阀是通过活塞的作用来减压的阀门。弹簧隔膜式减压阀依靠弹簧和隔膜来平衡压力。

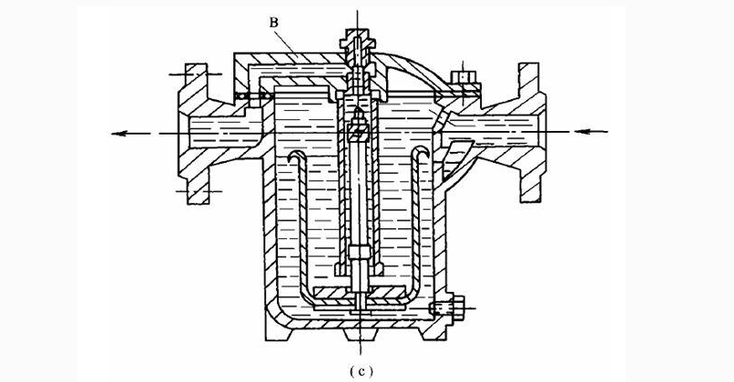
8. 蒸汽疏水阀
疏水阀又称疏水阀和排水阀、蒸汽阀、疏水阀、回水箱、回水阀等,其作用是自动排出连续产生的冷凝水,不让蒸汽出来。
疏水阀的种类很多,浮子式、浮子式、钟形浮子式、脉冲式、热力式、热膨胀式等。常用的有浮子式、钟罩式 浮子式和热力式。
(1)浮球疏水阀主要由阀门、轴、导管、浮标和外壳等部件组成。

当设备或管道内的冷凝水在蒸汽的压力下进入疏水阀,并逐渐增加直至接近充满浮筒时,由于浮筒的重量超过浮力而下沉。浮筒在蒸汽压力的作用下通过导管和阀门排出。当浮筒内的冷凝水快用完时,浮筒的重量减轻并向上漂浮,使节流阀关闭,冷凝水又开始在浮筒内积聚。这种周期性工作可以自动排出冷凝水,防止蒸汽逸出。
(2)钟形浮子陷阱
钟形浮球疏水阀又称桶式疏水阀(主要由调节阀、桶、套管和过滤装置组成。疏水阀内桶倒置,处于下降位置一开始,调节阀是打开的,当设备或管道中的冷空气和冷凝水在蒸汽的压力下进入疏水阀,然后由调节阀排出。一方面,当蒸汽少量未排出的空气逐渐充满桶内容积,同时冷凝水不断积聚,桶因浮力上升,关闭调节阀,停止排出冷凝水。另一方面tycovalve,桶内的一小部分蒸汽和空气从桶顶部的小孔中排出,大部分热量凝结成液体,使桶的浮力增加。桶逐渐减少下降,使调节阀打开,冷凝水再次排出。这种周期性工作不仅可以自动排出冷凝水,还可以防止蒸汽逸出。

(3)热力学陷阱
当设备或管道中的冷凝水流入阻流阀泄水阀后,变压器腔内的蒸汽会凝结,降低压力。阀板下方的力大于上方的力,所以阀板被抬起。因为冷凝水比蒸汽粘度大,流量小,所以阀板和阀板与阀板相连。不易造成底间负压,同时冷凝水不易通过阀板与外壳之间的间隙流入变压器室,使阀板保持开启状态,冷凝水流经环形槽排出。
当设备或管道蒸汽流入疏水阀后,由于蒸汽的粘度比冷凝水的粘度小,流速较高,阀板和阀座容易产生负压吊桶式疏水阀,部分蒸汽流入变压器室,所以作用在阀板上的力大于下面的力,使阀板迅速关闭。这样周期性工作可以自动排出冷凝水,防止蒸汽逸出。
