欢迎来到
江苏泰科流体控制阀门有限公司
网站!
返回首页
|
加入收藏
|
网站地图
中外合资阀门
首页
公司相关
公司简介
企业文化
荣誉资质
工程案例
企业环境
阀门选型
蝶阀
闸阀
球阀
截止阀
气动阀门
电动阀门
止回阀
隔膜阀
平衡阀
过滤器
减压阀
调节阀
刀闸阀
柱塞阀
排气阀
疏水阀
铜阀门
补偿器
真空阀
排泥阀
衬氟阀门
低温阀门
电站阀门
其他阀门
水力控制阀
相关附件
阀门资讯
公司动态
阀门新闻
阀门知识
阀门咨讯
行业知识
阀门标准
行业资讯
解决方案
阀门应用
消防泵房
水利水务
环保工程
设备配套
石油化工
蒸汽管道
压缩空气管道
其它领域应用
服务中心
售前咨询
产品购买
资料下载
产品承诺
防伪说明
产品选型
代理加盟
联系我们
联系我们
当前位置:
首页
>
阀门选型
>
其他阀门
其他阀门
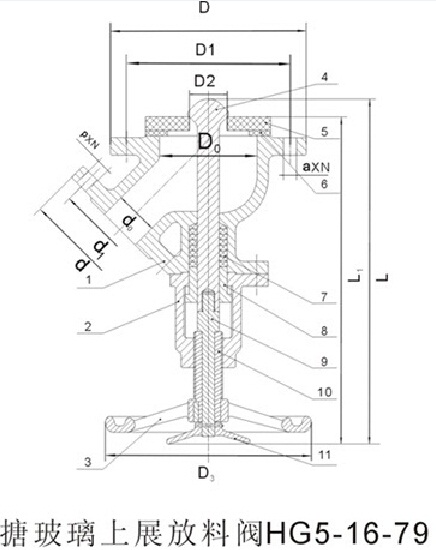
搪玻璃上展式放料阀
搪玻璃设备是含高硅量的玻璃质釉。通过
9000℃左右高温涂于金属胎而成。它具有良好的机械性能和耐腐蚀性能,能防止介质与金属离子起取代作用而影响污染制品,并且表面光洁、耐磨、有一定的热稳定性。在化工、石油、冶金、制药、农药、染料、食品加工等行业广泛使用。
搪玻璃下展式放料阀适用于设计压力
P≤0.6MPa,工作温度t≤150℃的搪玻璃下展式放料阀。该阀技术条件应符合HG5-16-79的规定。此阀除磷及磷轻介质、氢氟碳、盐酸、氢氧化钠氢氧化钾外能耐各种酸、碱、盐溶液及有机溶剂。
上一篇 : 柱塞式放料阀
下一篇 : 下展式放料阀