欢迎来到江苏泰科流体控制阀门有限公司网站!
:一对直齿轮付和一个正号行星减速器组成,
,手轮:手轮是用於手动开关阀门的,型阀门电动LQ型阀门电动装置可与BFA电气控制电缆出线孔:LQ型阀门电动装置有两装置输出轴的键槽与二个限位螺钉的相互位置处于图2所示的位置,然后把阀门的阀杆连同键一起装入电动装置输出轴的孔内,再同螺栓把1),切断电源,转动手轮使阀门达到3),转动手轮,打开阀门至约50%全1,LQ型阀门......
[2022-07-25]
安全阀选用的一般规则有哪些?的选用规则介绍
由操作温度决定安全阀的使用温度范围,进而影响阀门材质的选用。再根据使用介质决定安全阀的材质和结构型式,5.以下为安全阀选用的一般规则。11、炼油专用安全阀是石油化工受压容器的主要附件之一,用于控制容器压力,保证容器安全,它中部带有散热器,可有效地减少高温对安全阀弹簧的影响。14、电站锅炉和压力容器上在要求不高的情况下,......
[2022-07-25]
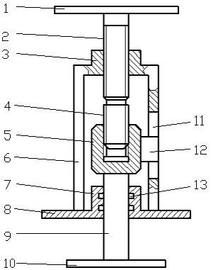
【知识点】1.本实用新型阀门的开度调节结构,用来调节流量
本实用新型涉及一种阀门的开度调节结构,用来调节流量。本实用新型要解决的技术问题是提供一种阀门的开度调节结构,以方便调节流量。反向螺纹的螺距与正向螺纹的螺距越接近,开度调节越精细。本实用新型的有益效果是,通过设置反向螺纹和正向螺纹,可方便地和精细地调节阀门的开度。图2为阀门开度调节示意图。其有益效果是,通过设置反向螺纹和......
[2022-07-25]
暖气式地暖排气阀的特点及特点排气阀的分类
一、排气阀的特点二、排气阀的分类地暖(地热)是一套系统,从地暖盘管到分水器的固定安装以及自动排气阀门管件的连接有着严格的工艺要求,在冬季供暖时,开启地暖用户首先需要排气,那么排气就需要用到排气阀。污水复合式排气阀原理与清水复合式排气阀相同,只是将结构略作改动,即将阀体加长,杠杆机构略作修改,使污物只积在阀体下部,不影响......
[2022-07-25]
电动截止阀安装注意事项有哪些?、阀杆材料
2、阀门可安装的管道的任何位置、同时根据介质和介质的温度选择碳钢或合金钢的阀门。截止阀优缺点特点(1)截止阀结构比闸阀简单,制造与维修都较方便。(3)启闭时,阀瓣行程小,因而截止阀高度比闸阀小,但结构长度比闸阀长。延庆区制作阀门是什么以上几种止回阀在连接形式上可分为螺纹连接、法兰连接、焊接连接和对夹连接四种。截止阀的结......
[2022-07-25]
【消防工程师】消防给水系统中有关减压阀的知识点汇总
今天山梁君再将消防给水系统中有关减压阀的知识点汇总给大家,开始学习吧:1.40MPa;(7)减压阀后应设置安全阀,安全阀的开启压力应能满足系统安全,且不应影响系统的供水安全性。...
[2022-07-25]多年阀门制造经验
专注流体设备研发生产制造