欢迎来到江苏泰科流体控制阀门有限公司网站!
管阀宝阀门总误认为水龙头是阀门,实则非也,水龙头实际上属于卫浴系列
以上分类中可以看出,阀门品种繁多;如此多品类,必须有一个统一的型号编制方法,才能让购买使用者通过铭牌便能知道某一种阀门结构、特性和材料。利用“阀门的站础知识”中学到知识,根据阀门上的铭牌和标志以及阀门上的涂漆颜色.阀门上的含义举例:阀门上DN的含义阀门上WCB的含义阀门上的PN的含义关于铭牌上刻印的标志,一般为型号、材......
[2022-07-21]
型活塞式减压阀与差压膜片式减压阀性能对比湘潭中基电站
型活塞式减压阀由主阀和反馈系统组成。反馈系统由活塞式控制阀和射流泵组成。某进口差压膜片式减压阀由主阀和反馈系统组成。反馈系统由膜片式控制阀组成。活塞式减压阀无论是零部件还是整体结构明显优于差压膜片式减压阀。无论活塞式减压阀还是差压膜片式减压阀都不同程度地存在紊流噪音和汽蚀噪音。为差压膜片式减压阀。差压膜片式减压阀进行二......
[2022-07-21]
慢开陶瓷阀芯造价低,质量也没有保证。。
海淀区加工阀门**知识36",截止阀连接方式:法兰、对焊、螺纹等,适用温度:-196℃~截止阀选用不同的材质。高温、高压介质的管路或装置上宜选用截止阀。氧化铝拜耳法生产中的脱硅车间、易结焦的管路上,易选用阀体分开式、阀座可去处的、硬质合金密封副的直流式截止阀或直流式截止阀。国内生产截止阀的厂家比较多,连接尺寸也大多不统......
[2022-07-21]
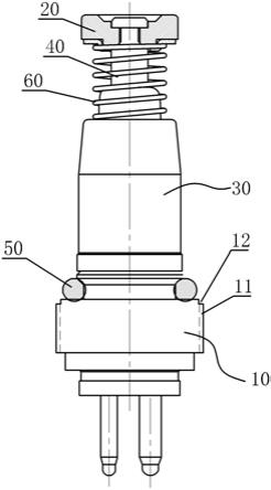
附图螺纹安装型电磁阀结构示意图(一)图
一种螺纹安装型电磁阀,其特征在于,其包括:一种螺纹安装型电磁阀,见图1、图2:其包括电磁阀底座10、上部橡胶垫20、上部胶套30;...
[2022-07-21]
介绍
不锈钢迷你球阀阀体为精密铸造件,采用螺纹连接(双内丝、内外丝、双外丝)。手柄分为红、蓝、黑以及不锈钢抛光原色手柄。4、球阀的密封面材料选用塑料、密封性好;手柄可以按照红色,蓝色,黑色,不锈钢等。...
[2022-07-21]
进口截止阀的闭合原理及优点:截止阀、我国、截止阀
进口截止阀概述近年来,从自密封的阀门出现后,截止阀的介质流向就改由阀瓣上方进入阀腔,这时在介质压力作用下,关阀门的力小,而开阀门的力大,阀杆的直径可以相应地减少。我国阀门“三化给”曾规定,截止阀的流向,一律采用自上而下。进口截止阀具有以下优点:直角式阀体多采用锻造,适用于较小通经、较高压力的的截止阀。进口截止阀的缺点如......
[2022-07-21]多年阀门制造经验
专注流体设备研发生产制造