欢迎来到江苏泰科流体控制阀门有限公司网站!
注:文末有音频版本。
前言
一份安检报告一度引发业内讨论:气球阀是正反?是否有可能反向安装该站点?今天放假,闲着没事学习讨论,以免重蹈覆辙!!!
相关报道
“这个球阀是倒装的,你没找到吗?” 一到现场,检查组就发现了一个隐患:该公司调压罐内有3个球阀江苏阀门厂家,其中一个球阀(3个)安装方向错误,但自安装使用以来,企业没有发现这种情况。看:
消息传出后,我想业内朋友还是很关心的,都在讨论球阀是正还是负?哪些球阀会出现装反的问题?讨论摘录(因为没有人看到现场安装球阀的图片,讨论纯属猜测!)
讨论A
目前燃气用球阀选用的是双向密封的,不存在安装问题。如果选用的是单向密封的球阀,则不符合燃气设备的技术要求。
讨论 B
专家一眼就能看出阀门装反了?专家就是专家。有箭头指向截止阀等。看来球阀很少有箭头。关键是没有附照片。
讨论 C
球阀有两种类型:单向密封球阀和双向密封球阀。前者具有方向性。如果装反,则不能保证全压差状态下的密封,而后者则没有方向性。从结构上分为双向密封和单向密封:双向密封一般没有流向要求,单向密封有流向要求。
讨论 D
铸钢球阀应以大阀体侧为入口,小阀体侧为出口,因为当阀体组件连接处有泄漏时,关闭泄漏阀可切断气源。在进气方向,关闭漏气阀本身不起作用。
陈守安注:以上节选似乎是非常合理的讨论。熟悉本公众号风格的朋友都知道,我一直坚持的原则,就是尽量找到规范要求的源头和依据,进行讨论和判断。(再三强调,个人观点没有依据,仅供参考)。那么规范中是如何明确的呢?
01
球阀有正负吗?
阀门有很多标准,产品使用的介质不同,本身也有很多差异。较新的标准《石油、石化及相关行业用钢球阀》GB/T 12237-2021中有规定:
8.4 个其他标签
8.4.1 带静电结构的球阀应标有“AS”;
8.4.2 耐火结构的球阀应标明“FD”;
8.4.3 如果球阀是为单向流设计制造的,阀体应标明允许流向“箭头”的永久性标记,或单独的流向“用箭头”标志牢固地钉在阀体法兰上。
该条款要求应该推断出球阀确实是为单向流而制造的,我们不关心它是用在什么场合。了解更多的朋友也应该知道,球阀也有一个导流功能。
提醒一下,单通阀和二通阀在阀门试验中的要求是不同的,比如《油气工业管道输送系统用管道阀门》GB/T 20173-2013中的要求:
11.4.4 截止阀的试验方法
11.4.4.1 止回阀
阀门半开时,阀腔应完全充满试验介质,然后关闭阀门,对阀门一端施加试验压力。
应通过阀腔排放或排气连接(如果提供)监控上游阀座的泄漏。对于没有空腔泄压或排气连接的阀门三片式球阀,应从阀座的下游端监测阀座泄漏。
11.4.4.2 二通阀
阀门半开,阀腔应完全充满试验介质,然后关闭阀门,试验压力依次施加在阀门两端。应监测每个阀座是否通过阀腔泄压口或排放连接(如果提供)泄漏。对于没有空腔排放或排气连接的阀门,应从阀门的相应下游端监测泄漏。
11.4.4.3 附加密封测试
如需方规定,具有双关断(DBB)功能的阀门应按 C.10 的规定进行试验。
如需方规定,应按 C.11 的规定对具有双重隔离泄压(DIB-1) 功能,两个阀座双向密封)的阀门进行试验。
如需方指定双隔离-释放阀(DIB-2)功能,一个阀座为单向密封,另一个阀座为双向密封,应按规定进行试验C.12 的。
其中条款:
截止阀
当处于关闭位置时,阻止上游流体介质流向下游管道的闸阀、旋塞阀或球阀。
注意:阀门可以是单密封或双密封,也可以是双向或单向的。
02
球阀会装反吗?
阀门结构复杂,有些专家无法理清。现场安装工人要保证正确的安装方向是不是太难了?答案是识别阀门方向很容易!!!因为如果有流向要求的阀门,阀体上应该有箭头指示流向。简单提取两个标准要求如下。
01GB/T 12224-2015
《钢制阀门通用要求》GBT 12224-2015是阀门生产必须遵守的基本规范。在其条款中明确了阀门标志符合GB/T 12220的规定。GB/T 12220-2015中的相应规定明确:
3 标志内容
3.1 阀门必须使用的标记
公称通径不小于DN32的阀门必须使用的符号见表1。

红色标记提示:表中第9项要求标明介质允许流向(注C为:单向阀必须标明介质允许流向箭头)。燃气截止阀如下图:
02GB∕T 19672-2021
《管道阀门技术条件》GB∕T 19672-2021有明确规定:
10 个迹象
10.1 阀体明显部位应标有:制造商商标标志、认证标志、阀门公称压力(或压力等级)、阀门公称尺寸(或缩径标志)、阀体材料标志和炉号,阀门的流向标志(对于有流向要求的阀门);连接法兰的标准序列号应印在连接法兰(或接口的直管部分)上。
陈寿安总结:从以上内容可以看出,如果是有方向要求(有流向要求)的阀门,那么阀门标识上一定要有流向标志。也就是说,如果阀体没有流向标记,现场施工时不考虑安装方向。对于有流向要求的阀门,如果施工时管道上有流向标记,则对应阀门流向箭头。如果安装反了,施工或验收或操作人员稍微细心一点,可以看到两个截然相反的箭头标记。不易发生:其中一个球阀(3)安装方向错误三片式球阀,但本公司自安装使用以来未发现此情况。
03
球阀安装的由来
从前面的讨论可以得出结论,一般情况下,有流向要求的阀门不会因为箭头标记而装反,那么球阀装反的检查结果是如何出现的呢?我没有和现场专家交流过,只能大胆猜测。


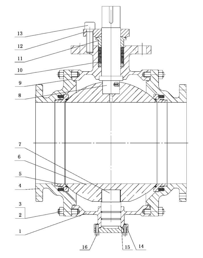
如图所示,为普通燃气管道用球阀(不允许介质流过箭头)。专家说安装了正确的流向,按照图中我自己标注的红色箭头的方向猜测是从右到左。从相应的解剖结构图可以看出。在所示方向上,其内球体在右侧。原因是关闭阀门后,图中绿色箭头所示的拆解结构部分没有燃气。反之,气块在球体左侧,有球阀连接法兰和可拆卸结构的法兰,有2个潜在泄漏点。
以上原因纯属猜测。如果是这个原因,只能说按图中箭头方向安装可能效果更好,但如果说按箭头方向安装有安全隐患合资阀门品牌,我真的不同意。

如果上述球阀的安装方向是正反,我认为这种普通球阀也应该按照红色箭头的方向安装。因为右侧也是拆装结构(估计很难拆,但是修过阀门的都知道这里阀体漏水的可能性有多大?)。
上述结构只是球阀的一种生产形式。毕竟固定球阀(三片式)还是有典型结构的,任何方向关闭后都有泄漏的可能。

如果泄漏,是时候购买(一体式)结构的浮动球阀了吗?

另外,如果这个方向要求的原因是真的,那么在不同季节需要循环或正逆流的管道上是不是不能安装这样的球阀呢?
陈守安总结道: 简单总结一下我的研究和探索的结论,球阀确实有不同的结构,不能简单的说球阀没有正向和反向流动方向的要求,因为我们很少见到。至于正反哪个结构,现场安装人员不需要过多考察,重点看重点,阀门上是否有介质流向箭头标记,如果有,按照即可箭头方向和管道介质流动方向。至于那些经验丰富的老专家,如果有几十年维修球阀泄漏的经验,最好在业内分享一下,作为优化经验,让更多人知道。
本文基于新闻报道中的几句话纯属个人猜测,提出个人观点供大家讨论研究。目的是认真了解高深莫测的专家们的监督和指导(如果每次检查都给出理由和依据就好了)。,检查本身不是目的)
支持这个观点请点小花
一片式球阀 法兰球阀 天津阀门