欢迎来到江苏泰科流体控制阀门有限公司网站!

德国液压控制阀教学视频
化学707系列讲座
每天好多好文章,请上化工707网
交流下载请到化工707论坛
点击菜单栏访问新闻网和论坛!
文字阅读>>
你对压力控制阀了解多少?
压力控制阀是控制和调节液体流动压力的阀门的总称,简称压力阀。
其工作原理是通过平衡作用在阀芯上的液压与宽芯的弹簧力来建立和维持被控液体的工作压力。如果弹簧力是可调的,也可以相应地改变被控液体的压力,从而达到控制和调节液体流动压力的目的。压力阀在油路系统中并联使用。当被控液体的压力因外部原因升高超过弹簧的预设压力时,阀芯与弹簧之间的平衡关系就会被破坏。在这个弯头处,阀芯将被迫移动,打开通道将油(溢流)排至回油管。受控油压仍保持在弹簧预调压力水平;有时阀芯的运动并没有打开回油通道,而是改变其特殊设计的节流和泄压口的通流截面,即改变其压降,使预调减压油路的工作压力保持不变。不变;有时会故意增加油压进入另一个工作油路,以达到顺序动作的目的。改变其压降,使预调减压油路的工作压力保持不变;有时会故意增加油压进入另一个工作油路,以达到顺序动作的目的。改变其压降,使预调减压油路的工作压力保持不变;有时会故意增加油压进入另一个工作油路,以达到顺序动作的目的。
(一)安全阀
(1)溢流阀的结构和工作原理
①直动式溢流阀
图5-14是直动式溢流阀的简化结构,图5-15是直动式P型溢流阀的结构和符号。其工作原理是当溢流阀与液压系统的进油管路并联时,该阀的进油压力始终与弹簧压力和溢油口的背压相对应并与之平衡,由于弹簧压力是通过阀门上部的调压螺钉手动调节的,所以滑动阀芯A的运动压力也会相应变化,相当于控制了进油口的压力,即系统压力。当调压螺钉完全松动时,由于弹簧压力和背压很小,系统将无法建立压力和溢出(称为卸载),即油泵输出的流量将接近无压力。,向上移动滑阀A连接进油口和出油口,使所有流量通过溢流阀返回油箱;随着调压螺钉的不断拧紧,阀门的进油口作用在滑阀的底面a上,系统的压力,即系统压力,也会相应于弹簧压力逐渐升高,直至达到系统所需的工作压力。使所有流量通过溢流阀返回油箱;随着调压螺钉的不断拧紧,阀门的进油口作用在滑阀的底面a上,系统的压力,即系统压力,也会相应于弹簧压力逐渐升高,直至达到系统所需的工作压力。使所有流量通过溢流阀返回油箱;随着调压螺钉的不断拧紧,阀门的进油口作用在滑阀的底面a上,系统的压力,即系统压力,也会相应于弹簧压力逐渐升高,直至达到系统所需的工作压力。

图5-14 直动式溢流阀简化结构

图5-15 直动式P型溢流阀结构图及符号
② 先导式溢流阀
先导式溢流阀由先导阀和主阀组成。图 5-16 显示了先导式溢流阀的工作原理和图形符号。P为进油口,T为出油口,压力油从P口经通道a进入主阀芯下腔A,作用于主阀芯底面,同时进入主阀芯下腔。主阀芯上腔B通过阻尼孔b,作用在主阀芯上端面和导阀上。
先导式溢流阀的压力和流量特性优于直动式溢流阀。因此,先导式溢流阀被广泛应用于压力高、流量大、压力调节精度高的场合。并且由于先导式溢流阀为二级阀,其灵敏度和响应速度均低于直动式溢流阀。

图 5-16 先导式滑阀式溢流阀
③ 溢流阀典型结构

图 5-17 力士乐 DBD 型直动式溢流阀
(a) 提升阀类型;(b) 球阀型

图 5-18 力士乐 DB 型先导式溢流阀

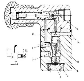
图5—19YF型先导式溢流阀
1—主阀芯;2——阀座;3—先导阀芯;4—调节螺钉;5——阀体;
6——阀盖;7—先导阀座;8—阻尼孔;9—遥控口
(2)安全阀性能
①静态特性
压力调节范围
压力调节范围是指调压弹簧在规定范围内调节时的最大和最小设定压力,系统压力能平稳上升或下降,压力无突跳和滞后现象。溢流阀的最大允许流量为其额定流量。在额定流量下工作时,溢流阀应无噪音。安全阀的最小稳定流量取决于其压力稳定性要求,一般规定为额定流量的15%。.
开闭特性
启闭特性是指在稳态条件下溢流阀从开启到关闭的过程中,受控压力与通过溢流阀的溢流流量之间的关系。是衡量溢流阀恒压精度的重要指标。一般在溢流阀在额定流量和设定压力ps时,溢流阀开启压力pk和溢流阀关闭压力pB分别按p1的百分比计算。来衡量,前者称为开口率pk,后者称为闭合率ps,即:
(5—1)
(5—2)
式中:ps可以是溢流阀调压范围内的任意值。显然,以上两个百分比越大,说明两者越接近,安全阀的启闭特性越好。
≥90%,
≥85%,直动式和先导式溢流阀的启闭特性曲线见图5-20。

图 5-20 溢流阀启闭特性曲线
图5-21 流量阶梯变化时溢流阀进口压力响应特性曲线
②动态性能
当溢流阀在溢流流量中有一个从零到额定流量的阶跃变化时,它的入口压力,即它所控制的系统压力,会如图5-21所示迅速上升并超过额定压力,然后逐渐衰减。到最终稳定压力,完成其动态过渡过程。
将最高瞬时压力峰值与额定压力设定值ps之差定义为压力超调量Δp,则压力超调率Δp为:
(5—3)
是衡量溢流阀动态恒压误差的性能指标。一种性能良好的安全阀,其
≤10%~30%。图 5-19 所示的 t1 称为响应时间;t2 称为过渡时间。显然,t1越小,溢流阀响应越快;t2越小,安全阀的动态过渡时间越短。
(3)溢流阀的应用
安全阀应用广泛。在回路中可用作溢流阀、安全阀、背压阀、远传调压器、多级调压器和卸荷阀。具体应用如图5-22所示

图 5-22 溢流阀的应用
(a) 对于安全阀;(b) 安全阀;(c) 用于背压阀;
(d) 远程压力调节;(e) 多级压力调节
(二)减压阀
减压阀是使出口压力(二次压力)低于进口压力(一次压力)的压力控制阀。它的作用是降低液压系统中一个回路的油压,用一个油源同时提供两个或多个不同压力的输出。减压阀广泛应用于各种液压设备的夹紧系统、润滑系统和控制系统。此外,当油压不稳定时,可在回路中串联减压阀,以获得稳定的较低压力。根据减压阀控制的压力不同,可分为定值输出减压阀、定差压减压阀和定比减压阀。
(1)定值输出减压阀
①工作原理
直动式减压阀的结构图和图形符号如图5-23所示。P1口为进油口,P2口为出油口,当阀门不工作时,阀芯在弹簧作用下处于最低位置,阀门的进出油口相连,即即,阀门常开。如果出口压力升高,使作用在阀芯下端的压力大于弹簧力,阀芯向上移动,关闭阀口,此时阀门处于工作状态。如果忽略其他阻力,只考虑作用在阀芯上的液压和弹簧力平衡的情况,可以认为出口压力基本保持在某个值——设定值。此时如果出口压力降低,阀芯向下移动,打开阀口,阀口处的阻力减小,压降减小,使出口压力回升到设定值; 相反,如果出口压力增加,阀芯向上移动,关闭阀口,阀口处的阻力增加,压降增加,出口压力下降到设定值。

图5-23 直动式减压阀结构

图5-24 先导式减压阀结构及符号
图5-24为先导式减压阀的工作原理图和图形符号,可通过模仿前述先导式溢流阀推导出来,此处不再赘述。
②工作特点
在理想的减压阀中,当进口压力、流量变化或出口负荷增加时,出口压力p2始终保持不变。但实际上p2随着p1、q的变化或负载的增加而变化。在忽略阀芯自重和摩擦力的情况下,当稳态液压力为 Fbs 时,阀芯上的受力平衡方程为:
(5-4)
在哪里:
是弹簧刚度;
当阀芯打开时
弹簧的预压缩量,其余符号如图所示,即:
(5-5)
如果忽略液压动力
,和
,则有:
(5-6)
这就是减压阀出口压力能基本保持恒定的原因。
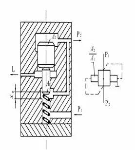
(2)固定式差压减压阀
差压减压阀是使进油口与出油口的压差相等或相近的减压阀,其工作原理如图5-25所示。高压油 p1 通过节流孔 xR 减压,然后与低压 p2 一起流出。同时,低压油通过阀芯中心孔将压力传递到阀芯上腔。压力差由弹簧力平衡。
(5-7)
在哪里:
当阀芯打开时
时间弹簧(其弹簧刚度为
); 其余符号如图所示。
从公式(5-7)可以看出,只要弹簧刚度最小
和阀门开度
,压力差Δp可以保持大致恒定。

图5-25 固定式差压减压阀结构及符号

图5-26 比例减压阀结构及符号
(3)恒比减压阀
恒比减压阀可使进出口压力比保持恒定。其工作原理图如图 5-26 所示。当阀芯处于稳态时,忽略稳态液压力、阀芯自重和摩擦力,可得力平衡方程为:
(5—8)
在哪里:
是阀芯下端的弹簧刚度;
是阀门开度
时间弹簧的预压缩量;其他符号如图所示。如果忽略弹簧力(刚度小),有(减压比):
(5—9)
由公式(5-9)可以看出选择了阀芯的作用面积
和
,可以得到所需的压力比,并且该比值近似恒定。
(三)顺序阀
顺序阀是一种压力控制阀,它作为压力信号自动控制油路的通断。它通常用于控制同一系统中多个执行元件的顺序动作。按其控制方式可分为内部控制和外部控制;按其结构可分为直动式和先导式。通过改变控制方式、排油方式和出口的连接方式,顺序阀还可以构成背压阀、卸荷阀、平衡阀和溢流阀等多种功能。
(1)直动式顺序阀
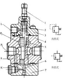
XE型直动式内控顺序阀的结构原理及图形符号图如图5-27所示。其主要部件有阀体4、阀盖3和7、阀芯5、控制活塞6、调压弹簧2和调节螺钉1等阀门厂家,其结构与一个直接作用的安全阀。不同的是顺序阀装有控制活塞,以降低弹簧刚度,阀芯与阀体之间的油封长度比溢流阀长。顺序阀的开启压力可以通过调节调压弹簧的预压来调节。由于进口压力控制阀芯的启闭,故称为内控顺序阀。
外控顺序阀又称液控顺序阀。将图 5-27 所示的内控顺序阀端盖 7 旋转 90° 或
180°安装,堵塞通道8,将外控口K与进油腔隔离电动控制阀,拆下外控口的螺塞,即可成为外控顺序阀。其工作原理与内控顺序阀相同,只是控制活塞动作的油源来自外控口K连接的控制油路,与进口压力无关,所以称为外控顺序阀。外控顺序阀的图形符号如图 5-27 所示。

图5—27XE型直动式顺序阀

图 5-28 力士乐 DZ 型先导顺序阀
(2)先导式顺序阀
图5-28为德国力士乐()公司DZ型先导式顺序阀结构图。其主要部件是导阀芯、调压弹簧、主阀芯和阀体。其工作原理与前述先导式溢流阀类似,不再赘述。
下表5-3是溢流阀、减压阀和顺序阀的比较。
表 5-3 溢流阀、减压阀、顺序阀对照表
安全阀
减压阀
顺序阀
控制压力
从阀门进油端引入压力油实现控制
从阀门出油口引入压力油实现控制
压力油从阀门进油端或外油源抽取,形成内控式或外控式
连接方式
连接溢流阀的油路与主油路并联,阀门出口直接通向油箱
串联在减压回路上,出油到减压部分工作
用作卸荷平衡功能时:出油口至油箱;当顺序控制:出口到工作系统
回油泄漏
泄漏由内部油返回
排油回油(设置外卸扣)
油排至外部,用作卸荷阀时油返回内部。
假脱机状态
在原始状态下,阀口是关闭的。用作安全阀时:阀口常闭;用作安全阀和背压阀时:
阀口常开
在原始状态下,阀口是打开的,工作过程中也是微开的。
阀口原状态关闭,运行时阀口常开
影响
安全功能:溢流、稳压作用;背压效应:卸荷效应
减压稳压
顺序控制动作:卸料动作;平衡(限速)动作:背压动作
(四)压力继电器
压力继电器是一种电液控制元件电动控制阀,将油的压力信号转换成电信号。当油压达到压力继电器的设定压力时,发出电信号来控制电磁铁、电磁离合器、继电器等部件。动作,使油路泄压、换向、执行机构实现顺序动作,或关闭电机,使系统停止工作,起到安全保护作用。
更多>>
更多优质内容

► 化工707网科技版块每天更新30余条优质技术装备知识。
►如此海量的优质内容阀门公司,得益于来自天大、浙江大学、大连理工大学、北华大学等高校的数百名专家学者长期贡献和分享化工707来自中科院、天辰、成大、五环、寰球等国内顶尖科研院所。
► 手机访问 707,请点击菜单栏新闻首页快速访问!
对不起,我没有
不明白?你问我答!
► 化工707论坛技术顾问团队由100多名化工各领域的资深专业人士组成,每天解答200多个技术问题。
► 每天参观化工707论坛的七位朋友中,污水处理领域的专业人士多达数百人。只要你敢问,就有人能回答!
>>还没看过?请点击“阅读原文”,再阅读“精华|你没看过的煤化工工艺路线图,增长见识!” 》
↓↓↓
溢流阀 顺序阀 压力控制阀