欢迎来到江苏泰科流体控制阀门有限公司网站!

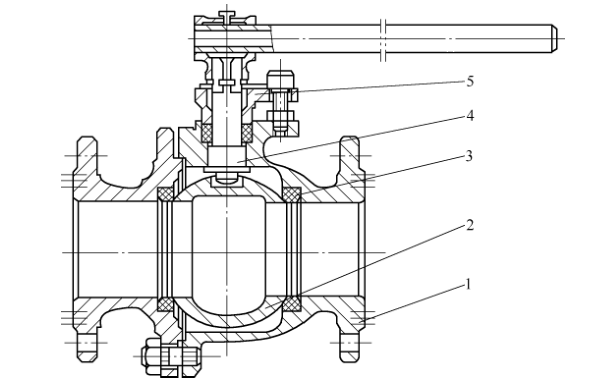
球阀是旋塞阀的改进演变。它们属于同一类型。球阀的关闭部分是球而不是塞子。球体围绕阀体中心线旋转 90° 以打开和关闭阀门。球阀主要起截断、分配和改变介质流向的作用。 V形开口设计的球阀也可用于流量调节。球阀具有旋塞阀的优点,同时又克服了旋塞阀的缺点。球阀的优点是启闭力矩小,密封性能好。法兰连接端浮球侧装两片式球阀如图1所示。

图1法兰端浮动球侧装两片式球阀
1 阀体 2 球体 3 密封圈 4 阀杆 5 填料压盖
(1)球阀的分类
球阀的分类方法很多,以下是其中的一些。 1)按球形结构分类
2)按球阀循环形式分类

3)按阀体装配形式分类

4)按阀体流道直径分类

(2)球阀性能
球形流道为圆形,非异径球形流道与阀体圆形流道为直管段,因此流阻很小。根据不同的工况,密封副可选择金属/金属和金属/非金属(+金属),密封性能好。该球阀具有体积小、启闭迅速、操作方便、安全可靠、使用寿命长、适用范围广等优点,可部分替代闸阀、截止阀和节流阀。多通道球阀可用于实现介质分配和改变介质流向的功能。下面介绍一下球阀性能的优缺点。
优点:
(1)流体阻力小(全通流道阀体阻力系数与相同长度的管段几乎相同)。(2)结构简单合资阀门品牌,阀体对称,体积小,双向流动,双向密封。(3)密封可靠(尤其是阀座密封面为非金属材料时)。(4)操作方便,快速启闭,转动90°即可完成,方便遥控。(5)维修方便,阀座密封圈一般可移动,拆装更换方便。如果采用顶装式结构,可以在线更换。(6)阀门处于全开或全关位置,密封副与介质完全隔离,介质通过高速通过不会腐蚀密封副。(7)球在打开和关闭时都在旋转和擦拭,所以大多数ba l 阀门可用于含有悬浮固体颗粒的介质。耐磨阀座密封材料也可用于粉状介质。 (8)直通球阀用于截断,应用广泛;三通、四通、五通球阀用于分配介质,改变介质流向;V球阀门可用于节流。(9)全通径球阀全开时,清洗球易于通过清洗管道,广泛用于石油和天然气管道。(1< @0)适用范围广:工作压力从真空到高压,公称通径DN8~3000,工作温度-254~815℃。
缺点:
(1)如果阀座密封等部件采用非金属材料截止阀的作用,其压力-温度等级低于球阀外壳(金属)的压力-温度等级,导致实际球阀的工作压力截止阀的作用,温度和介质受其限制。(2)阀座密封圈等部件采用非金属材料时,球阀的耐火和防静电结构性能球阀要考虑。(3)球体加工研磨难度大,金属密封辅助球阀(硬密封球阀)加工比较复杂。(4)当活动密封圈内塞入灰尘、焦炭和粘性介质,会影响阀座位移进而影响密封阀门厂家,因此不适合用于有灰尘、易结焦和高粘度的介质。
看完请点个赞,如果觉得文章不错,请转发,说不定你的朋友也需要!谢谢!
法兰闸阀 法兰球阀